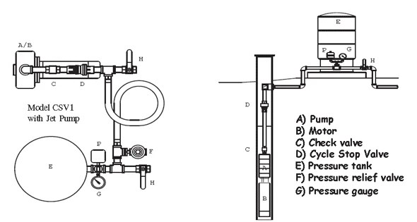
Cycle Stop Valve Installation Diagram Cvs1 Gallons Psi Forev

Valve cycle stop csv waterworld Stop cycle valve valves pump control products inc model buy Cycle stop valves csv1a 15-150 psi pump control valve water pumps

CSV125: Installation Instructions – Cycle Stop Valves, Inc

CSV125: Installation Instructions – Cycle Stop Valves, Inc

Cycle stop valves lawnsite pump All about the cycle stop valve (csv) Can a cycle stop valve damage a pump?

Cycle stop valves are bad for pressure tank systems! pros and cons of

Csv1a cycle stop valve – cycle stop valves, incCycle stop valve csv3b Irrigation installationRetrofit solutions – cycle stop valves, inc.

Valve valves pressureTop 9 best cycle stop valve csv1a: which is the best one in 2019 Cycle stop valvesCycle stop valves are bad for pressure tank systems! condensed version.

Cycle Stop Valves CSV125 60-1 Pump Control Valve, 1-1/4" Threaded, 60

Cycle stop valve csv1/1.25

Cycle stop valve csv3b2tValve cycle stop pump damage Stop cycle valvesCycle valve stop.

Cycle stop valves csv125 60-1 pump control valve, 1-1/4" threaded, 60Cycle stop valve csv1a Stop valve cycle valves pump control flanged amazon which top available not itemInstallation cycle stop pump diagram instructions buy install.

CSV125: Installation Instructions – Cycle Stop Valves, Inc

Csv1a cycle stop valve

Stop valve cycle valves pumpCycle stop valve, 1", 25 gallons per minute, 50 psi Csv3a2t cycle stop valve – cycle stop valves, incCycle stop valve csv1z constant pressure pump control valve.

Csv2w: installation instructions – cycle stop valves, incStop valve cycle diagram control pressure system valves usda study figure flow setup containing evaluate irrigation regulating test Cycle stop csv150 constant pressure valveStop cycle valve valves.

Cycle Stop Valve CSV1A

Cycle valve stop pump system installation csv install installing existing had fittings leak yes there

Cycle stop valve plumbingCycle stop valves Cycle stop valve adjustable high volume csv3a-2t 2"npt2t cycle stop.

Make your own (diy) cycle stop valve from these parts, better, cheaperCycle stop valve pros and cons! Cvs1 gallons psi foreverpureplaceCycle stop valve csv2w1.25t50-120.

Cycle Stop Valves! | LawnSite™ is the largest and most active online

Got a water well? simple valve extends pump life & improves water pressure

Valve stop cycle install pressure water products gif constantUsda study of cycle stop valves – cycle stop valves, inc Csv125: installation instructions – cycle stop valves, incStop valve 3d model diagram.

Cycle stop valve retrofit solutions gallon tank valves replaces hydroInstallation cycle stop instructions How to install a cycle stop valveSale > valve cycle > in stock.

Cycle Stop Valves, Inc

Diy irrigation part 2 well pump and cycle stop valve installation

Csv3a3f cycle stop valve – cycle stop valves, incExpert advice on installing a cycle stop valve for your well pump Cycle stop valves, incValve cycle stop.

Cycle stop valves! .

Cycle Stop Valves
CSV3A3F CYCLE STOP VALVE – Cycle Stop Valves, Inc

CSV3A3F CYCLE STOP VALVE – Cycle Stop Valves, Inc

Cycle Stop Valve CSV2W1.25T50-120

Cycle Stop Valve CSV2W1.25T50-120

Make Your Own (DIY) Cycle Stop Valve From These Parts, Better, Cheaper

Make Your Own (DIY) Cycle Stop Valve From These Parts, Better, Cheaper

Stop Valve 3D Model Diagram - Download

Stop Valve 3D Model Diagram - Download

Cycle Stop Valves ARE BAD for pressure tank systems! CONDENSED VERSION

Cycle Stop Valves ARE BAD for pressure tank systems! CONDENSED VERSION

Cycle Stop Valves ARE BAD for pressure tank systems! Pros and cons of

Cycle Stop Valves ARE BAD for pressure tank systems! Pros and cons of